
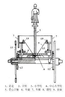
指南车结构图

中国历史博物馆收藏的指南车复制品
指南车是古代一种指示方向的车辆,也作为帝王的仪仗车辆。传说中公元前2600年,黄帝的大将风后在巨鹿之战中发明了指南车,并用它确定方向在大风雨中击败了蚩尤部落。
指南车是利用齿轮的原理造成的。这种齿轮传动类似现代汽车用的差动齿轮,即相当于汽车中差动齿轮的逆向使用原理。在目前仍有现实意义,如现代军事上的坦克、装甲车是钢铁外壳,行驶时又震动很大,磁性罗盘在车内难以正常工作,就要借助这种机械指向工具。
英国著名科学家和科技史学家李约瑟博士(Dr.Joseph Needham,1900-1995)在对指南车的差动齿轮作详细研究后指出:无论如何,指南车是人类历史上第一架有共协稳定的机械(homoeostatic machine)。